Supportworks Model 287 Helical Pile System
Technical Specifications
|
Bracket Specifications
|
-- View Our Helical Pile System Product Specifications document -
Serving Southern New Hampshire, Middlesex and Essex Counties Massachusetts
Helical piles are a factory-manufactured steel foundation system consisting of a central shaft with one or more helix-shaped bearing plates, commonly referred to as blades or flights, welded to the lead section. Extension shafts, with or without additional helix blades, are used to extend the pile to competent load-bearing soils and to achieve design depth and capacity. Brackets are used at the tops of the piles for attachment to structures, either for new construction or retrofit applications. Helical piles are advanced (screwed) into the ground with the application of torque.
The terms helical piles, screw piles, helical piers, helical anchors, helix piers, and helix anchors are often used interchangeably by specifiers. However, the term 'pier' more often refers to a helical pile loaded in axial compression, while the term 'anchor' more often refers to a helical pile loaded in axial tension.
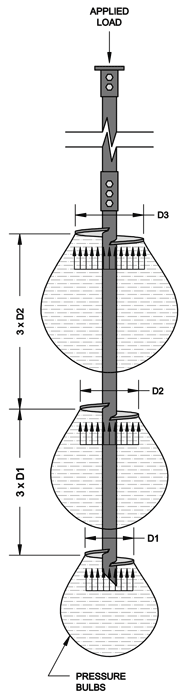
Helical piles are designed such that most of the axial capacity of the pile is generated through bearing of the helix blades against the soil. The helix blades are typically spaced three diameters apart along the pile shaft to prevent one blade from contributing significant stress to the bearing soil of the adjacent blade. Significant stress influence is limited to a 'bulb' of soil within about two helix diameters from the bearing surface in the axial direction and one helix diameter from the center of the pile shaft in the lateral direction. Each helix blade therefore acts independently in bearing along the pile shaft.
Multiple piles shall have a center to center spacing at the helix depth of at least four (4) times the diameter of the largest helix blade (ICC-ES AC358). The tops of the piles may be closer at the ground surface but installed at a batter away from each other in order to meet the spacing criteria at the helix depth. For tension applications, the uppermost helix blade shall be installed to a depth of at least twelve (12) diameters below the ground surface (ICC-ES AC358).
-- View Our Helical Pile System
Product Specifications document -
-- View our
Product Brochure and Helical Pile Specifications
document -
-- View Our Helical Pile System
Product Specifications document -
-- View Our Helical Pile System
Product Specifications document -
Maximum Allowable Mechanical Shaft Capacities
(3,5)
Default Torque Correlation Factor (6) Kt (ft-1)
HA150 10 6,500 65.0(8) 26.5(1,8) 26.5(1) HA175 10 10,000 100.0(8) 65.7(8) 53.0(1) HP287 9 5,600 50.4 46.4(4) 23.6(2) HP288 9 7,900 71.1 65.4(4) 34.1(2) HP350 7 16,000 112.0 107.8(4) 62.5(5)
-- View Our Helical Pile System
Product Specifications document -
Supportworks Model 287 Helical Pile System
Technical Specifications
Bracket Specifications
Yield strength = 36 ksi (min.), tensile strength = 58 ksi
(min.).
Yield strength = 50 ksi (min.), tensile strength = 62 ksi
(min.).
Yield strength = 50 ksi (min.), tensile strength = 65 ksi
(min.).
Supportworks Model 288 Helical Pile System
Technical Specifications
Bracket Specifications
Yield strength = 36 ksi (min.), tensile strength = 58 ksi
(min.).
Yield strength = 50 ksi (min.), tensile strength = 62 ksi
(min.).
Yield strength = 50 ksi (min.), tensile strength = 65 ksi
(min.).
Supportworks Model 350 Helical Pile System
Technical Specifications
Bracket Specifications
Yield strength = 36 ksi (min.), tensile strength = 58 ksi
(min.).
Yield strength = 50 ksi (min.), tensile strength = 62 ksi
(min.).
Yield strength = 50 ksi (min.), tensile strength = 65 ksi
(min.).
Supportworks Model 450 Helical Pile System
Technical Specifications
Bracket Specifications
Yield strength = 36 ksi (min.), tensile strength = 58 ksi
(min.).
Yield strength = 50 ksi (min.), tensile strength = 62 ksi
(min.).
Yield strength = 50 ksi (min.), tensile strength = 65 ksi
(min.).
Helical Pile Capacities Summary
Maximum Installation Torque (ft-lbs)
Maximum Ultimate Torque Correlated Soil Capacity
(6,7)Qu = Kt X T
(kips)
Axial Compression (kips)
Axial Tension (kips)

The ultimate capacity of a helical pile may be calculated using the traditional bearing capacity equation:
Qu = ∑ [Ah (cNc + qNq)]
| Where: |
|
Total stress parameters should be used for short-term and transient load applications and effective stress parameters should be used for long-term, permanent load applications. A factor of safety of 2 is typically used to determine the allowable soil bearing capacity, especially if torque is monitored during the helical pile installation.
Like other deep foundation alternatives, there are many factors to be considered in designing a helical pile foundation. Foundation Supportworks recommends that helical pile design be completed by an experienced geotechnical engineer or other qualified professional.
Another well-documented and accepted method for estimating helical pile capacity is by correlation to installation torque. In simple terms, the torsional resistance generated during helical pile installation is a measure of soil shear strength and can be related to the bearing capacity of the pile.
Qu = KT
| Where: |
|
The capacity to torque ratio is not a constant and varies with soil conditions and the size of the pile shaft. Load testing using the proposed helical pile and helix blade configuration is the best way to determine project specific K-values. However, ICC-ES AC358 provides default K-values for varying pile shaft diameters, which may be used conservatively for most soil conditions. The default value for the Model 288 Helical Pile System (2 7/8-inch diameter) is K = 9 ft-1.
Looking for a price? Get a no cost, no obligation free estimate.
